|
福特公司(Ford)向美国专利商标局申请了一项新专利,详细介绍了一项旨在使压缩氢罐更安全并能增加行驶里程的新创新。就像上一项与氢相关的福特专利一样,这项专利似乎注定要用于F-250或F-350超级皮卡等卡车。
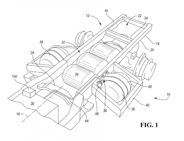
依赖压缩气体的车辆(无论我们谈论的是氢气还是天然气)的一个大问题是,燃料箱占用了很多空间,作为压力容器,它们的破裂可能是灾难性的,尤其是在车祸中。福特的解决方案是在汽车底盘外的车身内增加额外的燃料罐。

铰链式气罐
我们不会详细介绍这项专利是如何工作的,但它的要点是,在框架轨道之间的凹支架将容纳通常的压缩气罐。这是安全的,但它们不能提供足够的容量。因此,福特设想在每个纵向框架轨道的外侧增加另一个支架-铰链,这一次,额外的燃料罐将安装在上面。
在侧面碰撞的情况下,支架可以分离,使压缩气罐在框架周围和下面旋转,这样它就可以位于车辆下方但离开地面。最重要的是,这将使它远离撞击源。正如你可以想象的那样,这对于一个低行驶高度的车辆来说是不可能的。


额外的安全注意事项
基于上面的想法,如果压缩气罐可以远离撞击源,那么它就不太可能被外力击穿,但是如果碰撞是极端的呢?为了避免储罐脱离车辆,福特详细设计了系索,以确保储罐始终与车架相连。它还规定了限位装置,使用橡胶或塑料塞来防止储罐撞到它们所附着的框架。
作为进一步的预防措施,储罐将由碳纤维或另一种高强度复合材料制成。最后,福特表示,通过增加电子控制器和与高级驾驶员辅助系统通信的传感器,可能会使设计复杂化。有了这个,储罐就可以在撞击发生时移开,而不是依靠支架上的断裂来重新安置它们。
该专利详情可以点击此处查看
(素材来自:Ford 氢能网、新能源网综合) |